行业知识

温度传感器温度计安装方式

2023-08-09 10:00:00 科威

温度传感器温度计安装方式

1、安装使用注意事项:

按照被测介质的特性及操作条件,

选用合适材质、厚度及结构的保护套管和垫片。

热电偶安装的地点、深度、方向和接线应符合测量技术的要求。

热电偶与补偿导线接头处的环境温度最高不应超过100℃。

使用于0℃以下的热电偶,应在其接线座下灌蜡密封,使其与外界隔绝。


2、热电偶、热电阻温度计安装方式:

a.直形连接头:直插。

b.45°角连接头:斜插。 

c.法兰:直插。

d.高压套管(有固定套管和可换套管)。


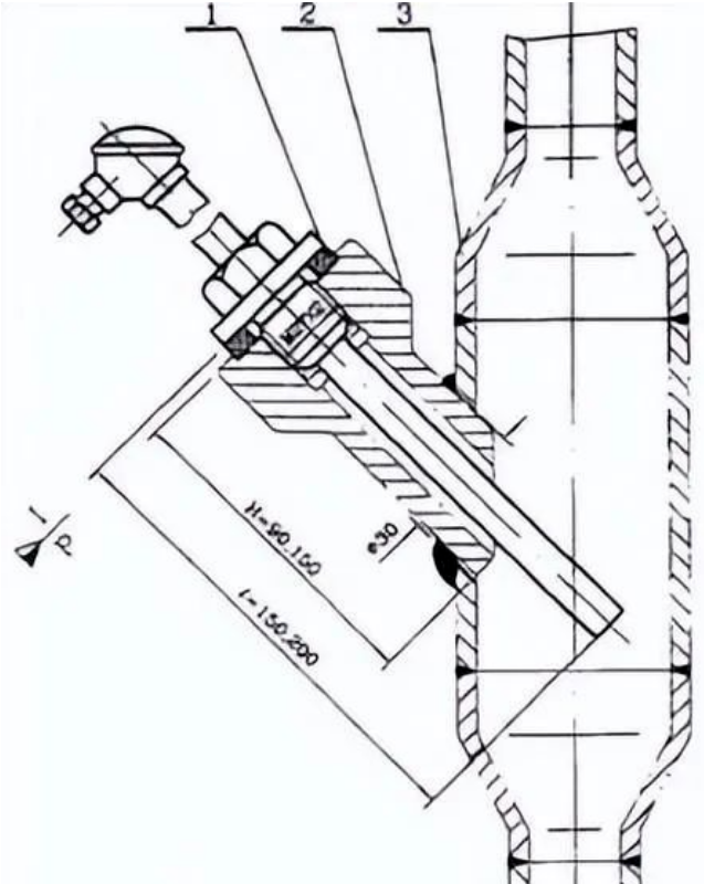
3、热电阻、热电偶在耐酸钢扩大管上安装图

a.垫片

b.45度角连接图

c.温度计扩大管

图片关键词

4、热电阻、热电偶在钢肘管上安装图

a.垫片

b.45°角连接图

图片关键词

5、表面热电偶安装图

材料是表面热电偶直形连接头

图片关键词

6、用翻边松套法兰固定的热电偶热电阻在铝管道上安装图

a.铝保护套管

b.翻边松套法兰接管

图片关键词











首页
产品
新闻
联系