新闻动态

  • 阀门定位器调试方法简介

    上述3显示至MAN时,按*键可至人工调整模式(POS-MAN),按+或-选择(CAL(校准)、CONFIG(开始用这里进}、CONTROLLER、EXAMINE、OPER).

    2024-12-23 科威

  • 控制蝶阀故障原因分析

    车间装置因锅炉B01烟气入口蝶阀故障关闭,装置紧急停工,具体情况如下:

    2024-12-09 科威

  • 电涡流式趋近传感器特性检查

    将探头与延伸电缆连接后接到前置放大器的插口处,将前置器接线端子按照要求分别接到电源 和万用表电压输入端

    2024-11-25 科威

  • 阀门定位器故障诊断 图解

    问题:角行程阀门定位器,定位器反馈信号不变,无法进行初始化。

    2024-10-28 科威

  • 压缩机一级出口压力高高联锁故障排查

    催焦柴新氢压缩机K101A机组联锁停机,动作原因为压缩机一级出口压力PIA400A 高高联锁。

    2024-09-27 科威

  • 压力调节阀不动作

    调节阀不动作故障原因分析 原因1: 无气源或气源压力过小。 措施:应首先检查气源( 仪表空气) 是否通畅,气源压力是否达到该阀使用要求。 原因2: 有气源,无输出信号气压力。

    2024-09-06 科威

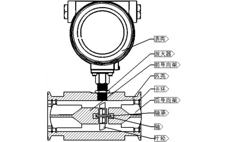
  • 涡轮流量计显示流量为零

    涡轮流量计简介: 涡轮流量计一般由传感器和显示仪两部分组成,也可做成整体式。 涡轮流量计和容积式流量计、科里奥利质量流量计称为流量计中三类重复性、精度最佳的产品,作为十大类型流量计之一,其产品已发展为多品种、多系列批量生产的规模。

    2024-08-14 科威

  • 除尘射频导纳料位计故障,有料无料均无反应

    知识点 射频导纳料位计是国际物位控制器跨世纪的前卫替代产品,在欧美国家和日本已被广泛应用,国内的用户也在用它替换旧的产品。它可以检测所有物料而不受物料的密度、颗粒大小、化学成分、沉积粘度和导电特性等参数变化的影响。广泛地应用于液体、粉体、浆体、固体等多种物料的控制。 射频导纳物位计是一种新型物位测量仪表,“导纳”为电学中阻抗的倒数,它由阻性成分、容性成分、感性成分综合而成,而“射频”即高频,因此射频导纳技术可以理解为用高频测量导纳。

    2024-08-14 科威

首页
产品
新闻
联系